Wniosek patentowy Samsunga ujawnia smartfon z dwoma oddzielnymi częściami. Każda z nich ma własny wyświetlacz oraz procesor

W czerwcu 2018 roku Samsung złożył wniosek patentowy w Światowej Organizacji Własności Intelektualnej, dotyczący smartfonu złożonego z dwóch odrębnych części łączonych ze sobą przy pomocy magnesów.

Marian Szutiak (msnet)
3
Udostępnij na fb
Udostępnij na X
Wniosek patentowy Samsunga ujawnia smartfon z dwoma oddzielnymi częściami. Każda z nich ma własny wyświetlacz oraz procesor

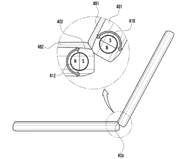
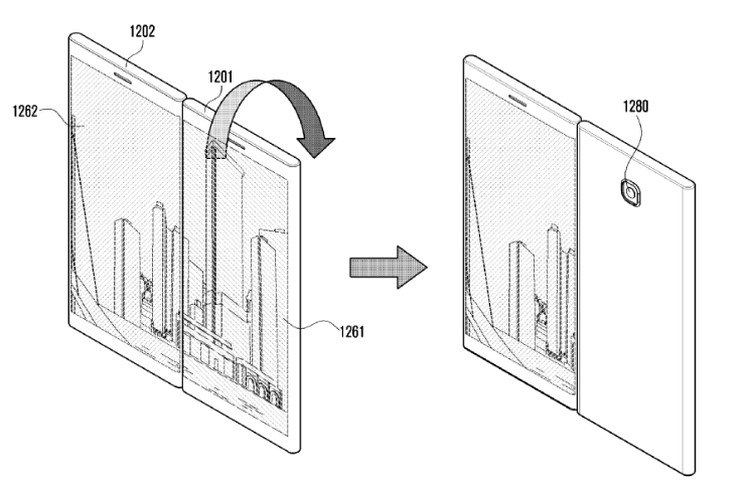
Wniosek patentowy, który Samsung złożył w Światowej Organizacji Własności Intelektualnej (WIPO - ang. World Intellectual Property Office), opisuje smartfon złożony z dwóch całkowicie odłączanych od siebie części, z których każda ma swój własny procesor, ekran i obudowę. Każde z urządzeń ma także trzy magnesy, które pozwalają łączyć je ze sobą w różnych orientacjach. Możliwe jest na przykład takie połączenie, że oba wyświetlacze znajdują się obok siebie, tworząc jedną większą całość, z przerwą pośrodku, powstałą z ramek obu łączonych części.

Dalsza część tekstu pod wideo
Wniosek patentowy Samsunga ujawnia smartfon z dwoma oddzielnymi częściami. Każda z nich ma własny wyświetlacz oraz procesor
Wniosek patentowy Samsunga ujawnia smartfon z dwoma oddzielnymi częściami. Każda z nich ma własny wyświetlacz oraz procesor

Dwa ekrany mogą także działać niezależnie od siebie, pozwalając na przykład na pracę z dwoma różnymi aplikacjami jednocześnie. Inna możliwość to używanie jednego wyświetlacza jako klawiatury ekranu do wprowadzania tekstu w aplikacji uruchomionej na drugim. Planowanych rozwiązań jest wiele, podobnie jak sposobów łączenia obu części. Niektóre z nich są pokazane na poniższych szkicach pochodzących z wniosku patentowego.

Wniosek patentowy Samsunga ujawnia smartfon z dwoma oddzielnymi częściami. Każda z nich ma własny wyświetlacz oraz procesor
Wniosek patentowy Samsunga ujawnia smartfon z dwoma oddzielnymi częściami. Każda z nich ma własny wyświetlacz oraz procesor
Wniosek patentowy Samsunga ujawnia smartfon z dwoma oddzielnymi częściami. Każda z nich ma własny wyświetlacz oraz procesor