Sony szykuje nowy kontroler do PlayStation 5. Ma ciekawą funkcję

Sony ma nowy pomysł, dzięki którym nie zgubisz słuchawek do PlayStation. Zamiast walać się po biurku lub salonie, schowasz je w kontrolerze do konsoli.

Damian Jaroszewski (NeR1o)
1
Udostępnij na fb
Udostępnij na X
Sony szykuje nowy kontroler do PlayStation 5. Ma ciekawą funkcję

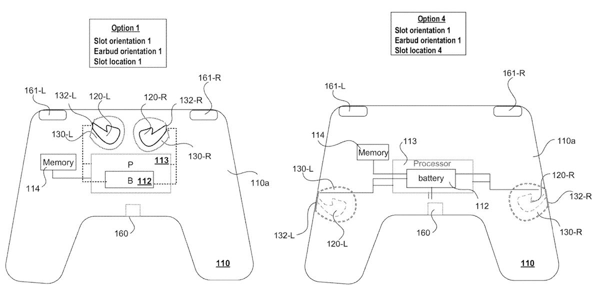
Sony złożyło niezwykle ciekawy patent na nowy kontroler do PlayStation 5. Te będzie miał specjalny schowek do przechowywania słuchawek. Dzięki temu więcej ich nie zgubisz.

Dalsza część tekstu pod wideo

Nowy pad do PlayStation 5

Niedawno Sony zaprezentowało nowe słuchawki do PlayStation 5. Portfolio japońskiej firmy powiększyło się o dwa takie akcesoria: modele nauszne o nazwie Pulse Elite oraz pchełki o nazwie Pulse Explorer. Z myślą o tych drugich może powstać też nowy kontroler DualSense, a tak przynajmniej wskazuje patent Sony.

Sony szykuje nowy kontroler do PlayStation 5. Ma ciekawą funkcję

Nowy kontroler ma być stworzony specjalnie z myślą o posiadaczach słuchawek Sony Pulse Explorer. Z patentu wynika, że w jego tylnej części ma znajdować się specjalny schowek, który pozwoli nie tylko na wygodne przechowywanie pchełek, ale także ich ładowanie. Takie rozwiązanie ma też ułatwić parowanie, ponieważ słuchawki automatycznie będą się łączyć z padem.

Słuchawki douszne mogą korzystać z szybkiej komunikacji
ustanowionej między kontrolerem a urządzeniem (konsolą), zapewniając w ten sposób połączenie między słuchawkami dousznymi a urządzeniem komputerowym o niskim opóźnieniu.

- czytamy w patencie Sony.

Patent nie określa dokładnego wyglądu nowego kontrolera. Dokument przewiduje też różne umiejscowienie schowka na słuchawki, więc — jeśli taki model rzeczywiście powstanie — to prawdopodobnie wciąż trwają nad nim prace. Ewentualna cena i data premiery nie są znane.