Microsoft patentuje składany telefon z metalową ramką i osłoną wyświetlacza

Microsoft opatentował urządzenie, które nie pasuje do żadnego ze znanych nam projektów. Składane, z metalową ramką oraz kilkoma ciekawymi rozwiązaniami. Zobacz, jak prezentuje się jego plan.

Henryk Tur (HTur)
0
Udostępnij na fb
Udostępnij na X
Microsoft patentuje składany telefon z metalową ramką i osłoną wyświetlacza

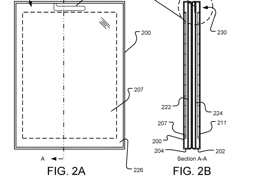
Jak wiemy, Microsoft pracuje nad urządzeniem o nazwie Surface Neo, którego debiut został przesunięty na rok 2022. Prawdopodobnie wejdzie ono do sprzedaży wraz z systemem Windows 10X na pokładzie. Najnowsze doniesienia pokazują, że na tym Microsoft nie zamierza poprzestać i już opatentował kolejne składane urządzenie. Nie ma ono jeszcze nazwy roboczej, ale z opisu wynika, że jego metalowe ramki wyposażone są w magnetyczne zawiasy, które umożliwiają obrót ekranu o 360 stopni, a całość działa - i tu ciekawostka - pod kontrolą systemu Windows 10. Jeśli urządzenie zostanie stworzone, prawdopodobnie zastąpi go Windows 10X lub Android.

Dalsza część tekstu pod wideo
Microsoft patentuje składany telefon z metalową ramką i osłoną wyświetlacza
Microsoft patentuje składany telefon z metalową ramką i osłoną wyświetlacza

Z załączonych informacji wiemy również, że można będzie złożyć ekrany tak, że główny znajdzie się na górze, a część dolnego będzie spod niego widoczna - domyślam się, że znajdzie się na tym obszarze interfejs użytkownika, a także powiadomienia. Dzięki temu można by np. na górnym oglądać film, a powiadomienia nie będą zakłócały rozrywki. No i poza tym nic więcej jak na razie nie wiadomo.

Oczywiście sam patent nie oznacza, że dokładnie takie urządzenie trafi w przyszłości na rynek. Microsoft może je radykalnie zmienić lub po prostu porzucić pomysł. Sądzę, że czynnikiem decydującym będzie sprzedaż Surface Duo, a potem Neo, a także działania konkurencji na obszarze "składaków". Czyli - wszystko przed nami.