Apple szykuje zupełnie nowy produkt? Wniosek patentowy zdradza wszystko

Apple ma pracować nad zupełnie nową wersją komputera iMac. Wniosek patentowy zdradza wszystkie szczegóły.

Arkadiusz Bała (ArecaS)
1
Udostępnij na fb
Udostępnij na X
Apple szykuje zupełnie nowy produkt? Wniosek patentowy zdradza wszystko

Apple to jedna z tych firm, które miotają się między forsowaniem absolutnie rewolucyjnych pomysłów i skrajną odtwórczością. Wygląda jednak na to, że pracuje nad pomysłem, który mieści się gdzieś pośrodku skali.

Dalsza część tekstu pod wideo

Będzie iMac z ekranem dotykowym?

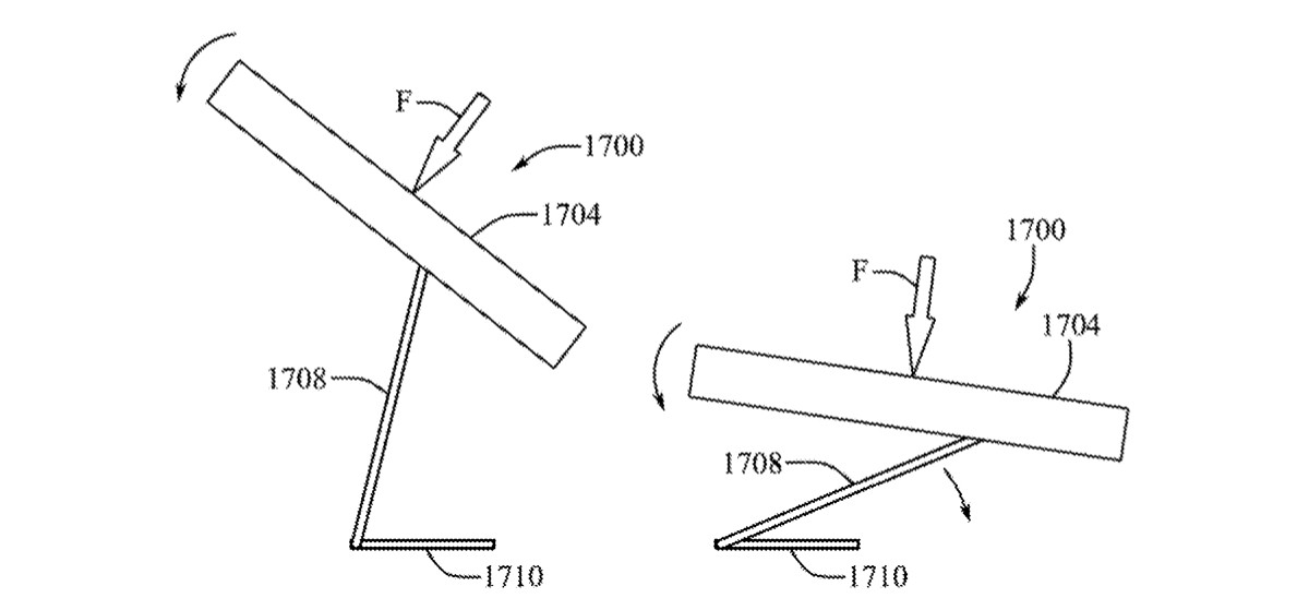
Z udzielonego gigantowi z Cupertino patentu można wywnioskować, że firma pracuje nad nową wersją komputera iMac wyposażonego w duży ekran dotykowy. Komputer miałby się wyróżniać przede wszystkim niecodzienną podstawą, umożliwiającą swobodne regulowanie pozycji komputera od standardowej pionowej, aż po praktycznie leżącą. Dzięki temu urządzenie miałoby się lepiej nadawać do zastosowań kreatywnych, zastępując np. dedykowany tablet graficzny.

Apple szykuje zupełnie nowy produkt? Wniosek patentowy zdradza wszystko

Pomysł prosty i na swój sposób całkiem sprytny. Jak jednak zwracają uwagę branżowi komentatorzy, bynajmniej nie jest on w żaden sposób rewolucyjny. Konstrukcja we wniosku patentowym na pierwszy rzut oka wydaje się łudząco podobna do komputera Microsoft Surface Studio, którego pierwsza generacja trafiła do sprzedaży pod koniec 2016 roku.

Jednocześnie Apple faktycznie pracuje nad nowym komputerem i nie porzuci pomysłu na etapie uzyskania patentu, to w dalszym ciągu czeka nas długa droga, nim takie urządzenie trafi na biurka użytkowników. Na ten moment system macOS nie posiada nawet pełnego wsparcia dla ekranów dotykowych i nic nie wskazuje na to, żeby sytuacja miała się w najbliższym czasie zmienić.