Apple pracuje nad nowym ekranem. Będzie wyjątkowy

Apple pracuje nad nowym ekranem, który ma być elastyczny. Ten miałby się owijać wokół różnych kształtów.

Damian Jaroszewski (NeR1o)
0
Udostępnij na fb
Udostępnij na X
Apple pracuje nad nowym ekranem. Będzie wyjątkowy

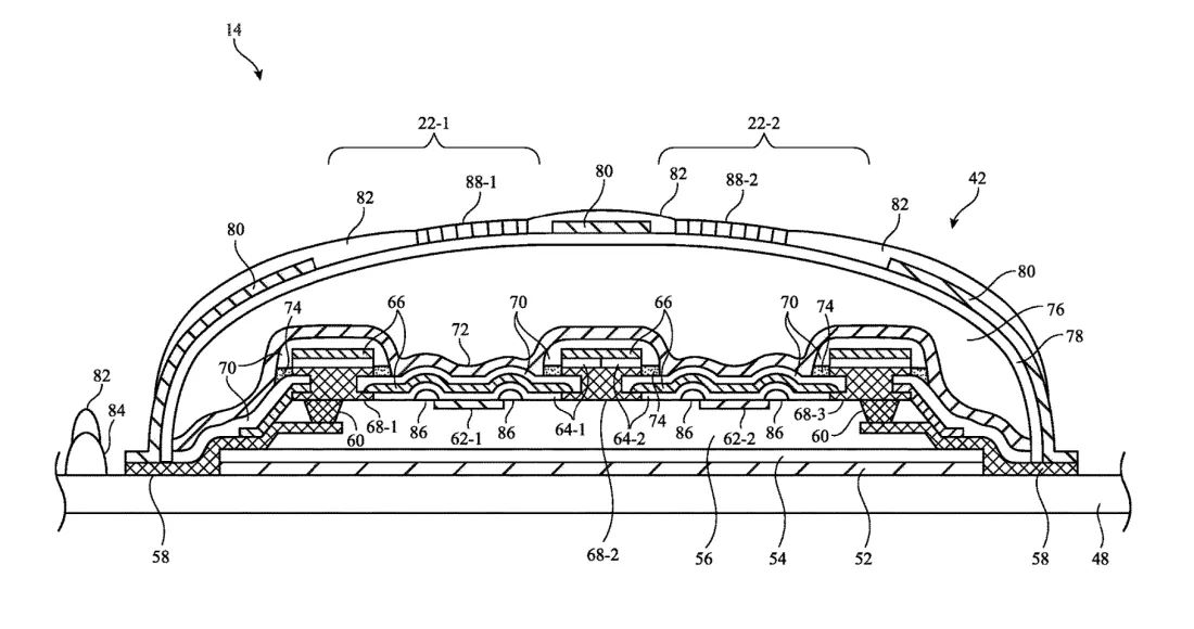
Patent złożony przez firmę Apple zdradza, że w Cupertino trwają prace nad nowym, elastycznym ekranem. Ten miałby być wykorzystywanym w różnego rodzaju urządzeniach od smartfonów, przez laptopy i na kategorii elektroniki ubieralnej kończąc.

Dalsza część tekstu pod wideo

Elastyczny ekran Apple

Patent ujawnia, że ekran miałby być elastyczny, dzięki czemu mógłby owijać się wokół różnych kształtów, np. nadgarstka. W sumie pracuje nad nim aż 55 inżynierów zarówno w Stanach Zjednoczonych, jak i Tajwanie. 

Apple pracuje nad nowym ekranem. Będzie wyjątkowy

Dokument nie zdradza dokładnej specyfikacji wyświetlacza ani nie przywołuje też konkretnych sposobów zastosowania. Natomiast wspomina o potencjalnych urządzeniach, do których mógłby trafić. To między innymi laptopy, telefony, tablety, sprzęty ubieralne, wyświetlacze samochodowe oraz inne. Generalnie, wszędzie tam, gdzie znajduje się ekran, panel elastyczny znalazłby zastosowanie i mógłby być pewnego rodzaju usprawnieniem.

Najbardziej oczywistym sposobem wykorzystania elastycznego ekranu wydaje się Apple Watch. Urządzenie wyposażone w taki wyświetlacz mogłoby się owijać wokół nadgarstka, oferując większą przestrzeń roboczą i potencjalnie nowe możliwości i funkcje dla użytkowników. Poza tym miłośnicy Apple cały czas czekają na składanego iPhone'a, gdzie elastyczny ekran też znalazłby zastosowanie.