Zakupy przyszłości. Wystarczy wykonać jeden gest

Wystarczy wskazać na coś palcem, aby kupić daną rzecz. Takie zakupy przyszłości bedą możliwe dla posiadaczy zegarków Apple Watch. 

Anna Kopeć (AnnaKo)
0
Udostępnij na fb
Udostępnij na X
Zakupy przyszłości. Wystarczy wykonać jeden gest

Smart zakupy nie są takie niemożliwe

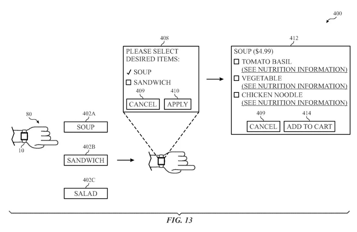
Firma Apple roztacza bardzo praktyczną wizję zakupów przyszłości. Do sieci właśnie trafiły patenty giganta technologicznego. Apple chce, aby do zrobienia zakupów wystaczył jedynie zegarek lub smartfon, no i rzecz najważniejsza, a zarazem najprostsza-  odpowiednie gesty. Jednym słowem, Apple chce uprościć zakupy do tego stopnia, że właściwie wystarczy jeden gest - wskazać palcem na wybraną rzecz, aby ją zakupić. 

Dalsza część tekstu pod wideo

Wizja wizją i większość osób potraktuje to z pewnością jako fantazje oraz mżonki. Tymczasem,  jakby się tak zastanowić, wcale nie jest to takie niemożliwe, jakby mogło się wydawać. 

Wystarczy prosty gest

Apple chce przyszłości, w której do lamusa odejdą płatności bezgotówkowe, które obecnie realizujemy w formie Blika na naszych urządzeniach mobilnych. Inteligentne zakupy, będą wymagały jedynie naturalnych gestów, w kierunku interesującego przedmiotu. 

Zakupy te można realizować za pomocą urządzenia (kiosku, urządzenia mobilnego klienta), które umożliwiałoby dodatnie wybranych pozycji do listy zakupów. 

Zakupy przyszłości. Wystarczy wykonać jeden gest

W podobny sposób można by było też zamawiać posiłki z menu w restauracjach. Oczywiście, przedmioty te musiałyby być wyposażone w czujniki, wykrywające inteligentne gesty i odpowiednio na nie reagować. 

Inteligentne gesty mogą ułatwić inteligentne zakupy i inne doświadczenia bezdotykowe, umożliwiając użytkownikowi wykonanie naturalnego gestu w kierunku jednego lub większej liczby pożądanych przedmiotów, pod warunkiem, że ma on na sobie urządzenie elektroniczne. Urządzenie zidentyfikuje gest i określi który przedmiot i w jakiej ilości jest wskazywany.

- czytamy w zgłoszeniu patentowym. 

W patencie mowa jest także o urządzeniach zwanych kotwicami UWB (Ultra Wideband) od Apple, które umożliwiałyby określanie pozycji danego przedmiotu, który można zakupić. W wielkim skrócie, chodzi o szersze zastosowaniu technologii Ultra Wideband. Prawdopodobnie też byłaby potrzebna do tego komunikacja typu Bluetooth.