Piekło zamarzło. Apple zdał sobie sprawę, że jego myszka jest do bani

Tak, drodzy fani Apple, możecie mnie teraz prowadzić na szafot, ale zdania nie zmienię: Magic Mouse to zaprzeczenie ergonomii. Na szczęście, najwyraźniej sam producent powoli także to rozumie. 

Piotr Urbaniak (gtxxor)
11
Udostępnij na fb
Udostępnij na X
Piekło zamarzło. Apple zdał sobie sprawę, że jego myszka jest do bani

Apple Magic Mouse, wydana w 2009 roku i później po sześciu latach odświeżona, to zdecydowanie jeden z najbardziej dyskusyjnych projektów myszek w branży. Wielu wprawdzie rozpływa się nad jej perfekcyjną obsługą gestów, ale równocześnie wypłaszczony grzbiet i umieszczone na spodzie złącze ładowania zdają się być rozwiązaniami wręcz irracjonalnymi. 

Dalsza część tekstu pod wideo

Na całe szczęście, najwyraźniej w końcu potrzebę zmian dostrzegł sam producent, choć podkreślmy, że typowo dla firmy z Cupertino znów jest dość ekwilibrystycznie. Precyzując, do sieci trafiła garść świeżych patentów Apple'a, który, jak wynika z rzeczonej dokumentacji, tym razem spróbuje... zintegrować mysz z klawiaturą.

Piekło zamarzło. Apple zdał sobie sprawę, że jego myszka jest do bani

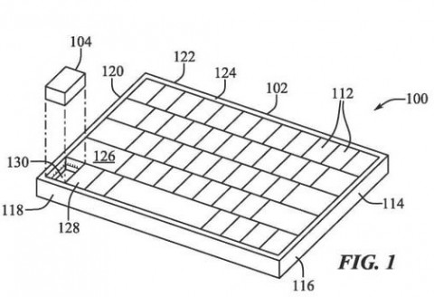
Patenty opisują klawiaturę, w której jeden z klawiszy otrzyma funkcjonalność superczułej płytki dotykowej, albo zostanie całkowicie zastąpiony miniaturowym dżojstikiem. Co więcej, zgodnie z przedstawionymi projektami, inżynierowie rozważają też pozostanie przy klasycznej myszce, ale na tyle niewielkiej, by można ją było schować w obudowie komputera lub klawiatury właśnie.

Przy czym firma jasno podkreśla wagę gestów: każde z przedstawionych rozwiązań ma być pod tym względem nie gorsze niż obecny Magic Mouse

Piekło zamarzło. Apple zdał sobie sprawę, że jego myszka jest do bani

Oczywiście nietrudno zauważyć, że w wielu aspektach jest to poniekąd wymyślanie koła na nowo. Choćby w przypadku opisanego powyżej klawisza-touchpada, który summa summarum nieszczególnie różni się koncepcją od dostępnych od lat trackpointów. Bądź co bądź, jest nadzieja, że wreszcie pożegnamy ułomnego Magic Mouse'a.

Pytanie tylko, jak będzie z tymi konkretnymi patentami, bo firma z Cupertino tego rodzaju dokumentów składa setki, a już z finalizacją pomysłów bywa różnie. Cóż, to akurat może zweryfikować wyłącznie upływający czas.