Mapy Google będą cię podsłuchiwać. I nie, to nie żart

Google dokłada wszelkich starań, by ich aplikacja do nawigacji była najlepsza na rynku. Tym razem jednym ruchem chcą zostawić całą konkurencję daleko z tyłu.

Patryk Łobaza (BlackPrism)
4
Udostępnij na fb
Udostępnij na X
Mapy Google będą cię podsłuchiwać. I nie, to nie żart

Google jest niekwestionowanym liderem jeżeli chodzi o aplikacje nawigacyjne. Z ich mapy codziennie korzystają osoby z całego świata. Jednak żeby pozostać na szczycie, stale trzeba wprowadzać zmiany i usprawnienia, które poprawiają komfort użytkowania.

Dalsza część tekstu pod wideo

Niedawno pisaliśmy o tym, że po wprowadzeniu funkcji Immersive View, gigant zintegrował ją z trasami w największych miastach na świecie. Zamiast standardowego widoku 2D zmuszającego użytkownika do ciągłego spoglądania w ekran, by upewnić się, że idzie we właściwym kierunku, teraz trasy są pokazywane w wielowymiarowym widoku z uwzględnieniem takich czynników jak aktualna pogoda. Jednak to nie jest największa zmiana, na jaką mogą liczyć użytkownicy Google Maps.

Google Maps będą analizowały dźwięki otoczenia

Wszystko wskazuje na to, że Google planuje podsłuchiwać swoich klientów jeszcze bardziej niż dotychczas. Ich aplikacja Maps zostanie zaopatrzona w funkcję analizowania dźwięków z otoczenia podczas działania nawigacji. Dla wielu kontrowersyjne narzędzie będzie miało bardzo ważne zastosowanie.

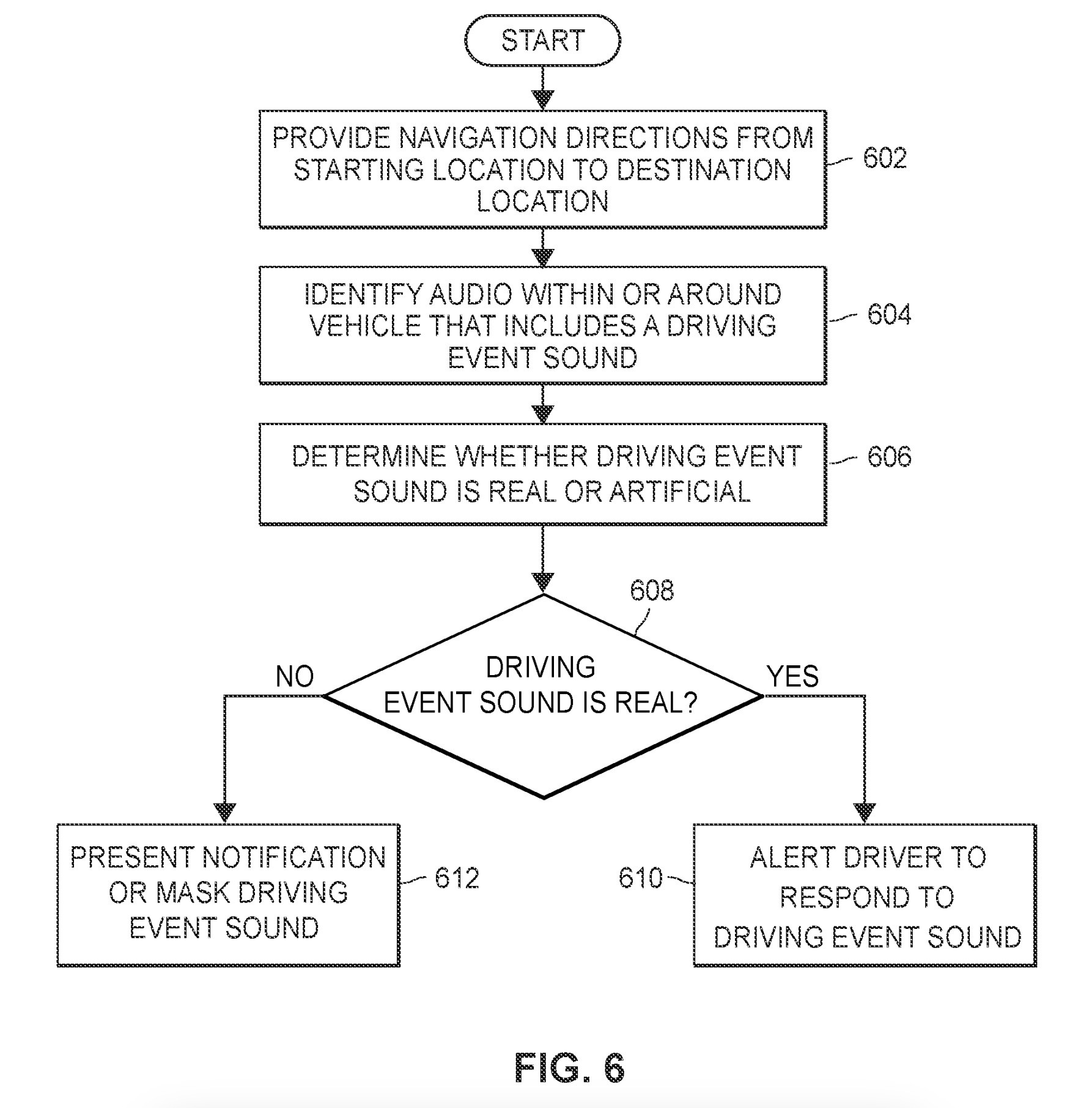
Patent zgłoszony przez giganta z Mountain View nosi nazwę „wykrywanie i obsługa dźwięków zdarzeń związanych z jazdą podczas sesji nawigacji” i opisuje nową funkcję, która umożliwi Mapom Google słuchanie tego, co dzieje się w kabinie. Przedsiębiorstwo wyjaśnia, że w zależności od rodzaju dźwięku, jaki słyszy kierowca, może podjąć niewłaściwe działanie. Na przykład syreny pojazdów uprzywilejowanych lub klaksony samochodów mogą oszukać kierowcę, gdy jest on przekonany, że odgłosy są z zewnątrz, podczas gdy tak naprawdę mogą wydobywać się z radia i być częścią jednego z utworów muzycznych.  

Wyglądałoby to następująco:

Mapy Google będą cię podsłuchiwać. I nie, to nie żart

Jeśli prowadzisz samochód, a system wykryje syrenę pojazdu uprzywilejowanego, która może być prawdziwa, w górnej części interfejsu nawigacyjnego wyświetli się powiadomienie z informacją, abyś „uważał na pojazd uprzywilejowany”. W niektórych przypadkach może zostać zalecone zjechanie w celu stworzenia tzw. korytarza życia, jeśli system wykryje dźwięk w pobliżu. Kierowcy zostaną również poinformowani, gdy dźwięk będzie wydobywał się z wnętrza kabiny.

Dźwięki z otoczenia gromadzone będą przez mikrofon twojego smartfona i przesyłane do dogłębnej analizy.